PCCar.ru - Ваш автомобильный компьютер

Вернуться   PCCar.ru - Ваш автомобильный компьютер > MP3Car ТехИнфа > Устройства ввода > Резистивные кнопки

Ответ
 
Опции темы Поиск в этой теме
Старый 09.01.2016, 17:36   #1
dreckin
Новый Пользователь
 
Регистрация: 09.01.2016
Возраст: 48
Регион: другой - для добавления сообщить ab
Машина: Peugeot 307
Сообщений: 4
dreckin is on a distinguished road
Question Пульт с резестивными кнопками на ГУ Android

Всем привет,
перелазил много тем у вас но так и не нашёл нужной мне информации.

Итак есть ГУ Андроид 4.4 от Autopumpkin.com модель С0255 у него есть выводы для подключения ДУ с руля (Key1 +5V, Key2 +5V, GND)
Все как на видео


Китаец подключает платку с кнопками и резисторами... и программирует ее через ГУ.

Имеется Пыжик 307 с родными кнопками управления радио (Подрулевой пульт) но система там идет через борткомпьютер самого пыжа.

Нужно: переделать пульт под Андроид, т.е. по идее не сложно, припаять пару резисторов и вывести на ГУ, и тут возникает вопросы:

сам подрулевой

1. какие резисторы стоят у китайца? в принципе думаю можно подобрать экспериментальным путем. но может кто то знает чтоб не мучатся
2. Дребезг и сопротивление контактов на родном пульте пыжа, и как их лучше обойти?
3. Крутилка (колесико) на пульте от пыжа как бы его подключить чтоб оно тоже работало?
dreckin вне форума   Ответить с цитированием
Старый 09.01.2016, 18:43   #2
YAM1966
Гуру
 
Аватар для YAM1966
 
Регистрация: 01.06.2013
Возраст: 59
Регион: Украина
Машина: Toyota Fortuner 4.0 / Chevrolet Bolt EV
Сообщений: 2,006
YAM1966 has much to be proud ofYAM1966 has much to be proud ofYAM1966 has much to be proud ofYAM1966 has much to be proud ofYAM1966 has much to be proud ofYAM1966 has much to be proud ofYAM1966 has much to be proud ofYAM1966 has much to be proud ofYAM1966 has much to be proud ofYAM1966 has much to be proud ofYAM1966 has much to be proud of
По умолчанию

Сюда тынц.
Каждую кнопку через свой резистор в одну точку, от колесика энкодера вывести оба отдельно.
YAM1966 вне форума   Ответить с цитированием
Старый 09.01.2016, 19:26   #3
dreckin
Новый Пользователь
 
Регистрация: 09.01.2016
Возраст: 48
Регион: другой - для добавления сообщить ab
Машина: Peugeot 307
Сообщений: 4
dreckin is on a distinguished road
По умолчанию

Цитата:
Сообщение от YAM1966 Посмотреть сообщение
Сюда тынц.
Каждую кнопку через свой резистор в одну точку, от колесика энкодера вывести оба отдельно.
спасибо за тынц, но немного не то, объясню почему,
1. Зачем мне собирать плату на контроллере если есть уже внутри, контроллер который все это обработает.
2. у меня идет 2 входа ключей.

с резисторами с первого поста никто не знает?
dreckin вне форума   Ответить с цитированием
Старый 09.01.2016, 21:34   #4
YAM1966
Гуру
 
Аватар для YAM1966
 
Регистрация: 01.06.2013
Возраст: 59
Регион: Украина
Машина: Toyota Fortuner 4.0 / Chevrolet Bolt EV
Сообщений: 2,006
YAM1966 has much to be proud ofYAM1966 has much to be proud ofYAM1966 has much to be proud ofYAM1966 has much to be proud ofYAM1966 has much to be proud ofYAM1966 has much to be proud ofYAM1966 has much to be proud ofYAM1966 has much to be proud ofYAM1966 has much to be proud ofYAM1966 has much to be proud ofYAM1966 has much to be proud of
По умолчанию

Я не говорил о контроллере...
Я дал ссылку чисто показать как устроены потроха джойстика.
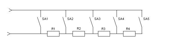
У него 5 кнопок, значит необходимо 4 резистора, например по 1кОм каждый.
Нажмите на изображение для увеличения
Название: matrix.jpg
Просмотров: 1352
Размер:	12.4 Кб
ID:	42164
Энкодер так не подключить, не будет работать.

p.s. можете сделать 2 сигнальные линии, тогда необходимо всего 3 резистора.
YAM1966 вне форума   Ответить с цитированием
Старый 09.01.2016, 23:20   #5
dreckin
Новый Пользователь
 
Регистрация: 09.01.2016
Возраст: 48
Регион: другой - для добавления сообщить ab
Машина: Peugeot 307
Сообщений: 4
dreckin is on a distinguished road
По умолчанию

А ну так понятней, спасибо. Попробую

Ну а по идее, можно же еще больше кнопок добавить? Допустим 2 линии по 5 кнопок.
Буду экспериментировать.

Кстати, что посоветуете по дребезгу контактов? простенько на логике или на микроконтроллере тоже простенько ))
dreckin вне форума   Ответить с цитированием
Старый 10.01.2016, 01:31   #7
dreckin
Новый Пользователь
 
Регистрация: 09.01.2016
Возраст: 48
Регион: другой - для добавления сообщить ab
Машина: Peugeot 307
Сообщений: 4
dreckin is on a distinguished road
По умолчанию

Нашёл очень интересную тему по по пыжовскому переключателю.
Думаю то что мне нужно.
Ссыль если кому интересно: тыц
dreckin вне форума   Ответить с цитированием
Ответ


Здесь присутствуют: 1 (пользователей: 0 , гостей: 1)
 

Ваши права в разделе
Вы не можете создавать новые темы
Вы не можете отвечать в темах
Вы не можете прикреплять вложения
Вы не можете редактировать свои сообщения

BB коды Вкл.
Смайлы Вкл.
[IMG] код Вкл.
HTML код Выкл.



Часовой пояс GMT +4, время: 23:07.


Работает на vBulletin® версия 3.8.4.
Copyright ©2000 - 2026, Jelsoft Enterprises Ltd.
Перевод: zCarot