PCCar.ru - Ваш автомобильный компьютер

PCCar.ru - Ваш автомобильный компьютер (https://pccar.ru/index.php)
-   Резистивные кнопки (https://pccar.ru/forumdisplay.php?f=165)
-   -   Пульт с резестивными кнопками на ГУ Android (https://pccar.ru/showthread.php?t=23774)

dreckin 09.01.2016 17:36

Пульт с резестивными кнопками на ГУ Android
 
Всем привет,
перелазил много тем у вас но так и не нашёл нужной мне информации.

Итак есть ГУ Андроид 4.4 от Autopumpkin.com модель С0255 у него есть выводы для подключения ДУ с руля (Key1 +5V, Key2 +5V, GND)
Все как на видео


Китаец подключает платку с кнопками и резисторами... и программирует ее через ГУ.

Имеется Пыжик 307 с родными кнопками управления радио (Подрулевой пульт) но система там идет через борткомпьютер самого пыжа.

Нужно: переделать пульт под Андроид, т.е. по идее не сложно, припаять пару резисторов и вывести на ГУ, и тут возникает вопросы:

http://thumbs.ebaystatic.com/images/...afJ/s-l225.jpg сам подрулевой

1. какие резисторы стоят у китайца? в принципе думаю можно подобрать экспериментальным путем. но может кто то знает чтоб не мучатся :wink2:
2. Дребезг и сопротивление контактов на родном пульте пыжа, и как их лучше обойти?
3. Крутилка (колесико) на пульте от пыжа как бы его подключить чтоб оно тоже работало?

YAM1966 09.01.2016 18:43

Сюда тынц.
Каждую кнопку через свой резистор в одну точку, от колесика энкодера вывести оба отдельно.

dreckin 09.01.2016 19:26

Цитата:

Сообщение от YAM1966 (Сообщение 348004)
Сюда тынц.
Каждую кнопку через свой резистор в одну точку, от колесика энкодера вывести оба отдельно.

спасибо за тынц, но немного не то, объясню почему,
1. Зачем мне собирать плату на контроллере если есть уже внутри, контроллер который все это обработает.
2. у меня идет 2 входа ключей.

с резисторами с первого поста никто не знает?

YAM1966 09.01.2016 21:34

Вложений: 1
Я не говорил о контроллере...
Я дал ссылку чисто показать как устроены потроха джойстика.
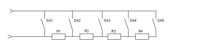
У него 5 кнопок, значит необходимо 4 резистора, например по 1кОм каждый.
Вложение 42164
Энкодер так не подключить, не будет работать.

p.s. можете сделать 2 сигнальные линии, тогда необходимо всего 3 резистора.

dreckin 09.01.2016 23:20

А ну так понятней, спасибо. Попробую

Ну а по идее, можно же еще больше кнопок добавить? Допустим 2 линии по 5 кнопок.
Буду экспериментировать.

Кстати, что посоветуете по дребезгу контактов? простенько на логике или на микроконтроллере тоже простенько ))

YAM1966 09.01.2016 23:27

Конечно можно...

dreckin 10.01.2016 01:31

Нашёл очень интересную тему по по пыжовскому переключателю.
Думаю то что мне нужно.
Ссыль если кому интересно: тыц


Часовой пояс GMT +4, время: 17:05.

Работает на vBulletin® версия 3.8.4.
Copyright ©2000 - 2026, Jelsoft Enterprises Ltd.
Перевод: zCarot