PCCar.ru - Ваш автомобильный компьютер

Вернуться   PCCar.ru - Ваш автомобильный компьютер > MP3Car ТехИнфа > Блоки питания > Китайские блоки питания

Ответ
 
Опции темы Поиск в этой теме
Старый 01.12.2017, 20:06   #61
lekksus
Новый Пользователь
 
Регистрация: 09.07.2015
Возраст: 61
Город: Моздок
Регион: 15
Машина: Ford Mondeo 4
Сообщений: 21
lekksus is on a distinguished road
По умолчанию

Спасибо за подсказку. А ссылки можно на скетч ,схему?
lekksus вне форума   Ответить с цитированием
Старый 01.12.2017, 20:43   #62
НСО154
Старший Пользователь
 
Регистрация: 01.01.2014
Возраст: 40
Город: Новосибирск
Регион: 54
Машина: РРС, Форд
Сообщений: 954
НСО154 is on a distinguished road
По умолчанию

Цитата:
Сообщение от lekksus Посмотреть сообщение
Спасибо за подсказку. А ссылки можно на скетч ,схему?
Можешь у меня списать
Только, это как-то нелепо, управлять умным блоком более умным)))))))
НСО154 вне форума   Ответить с цитированием
Старый 02.12.2017, 01:31   #63
JamesDoe
Старший Пользователь
 
Регистрация: 13.09.2015
Регион: Беларусь
Машина: OOOO
Сообщений: 285
JamesDoe has a spectacular aura aboutJamesDoe has a spectacular aura aboutJamesDoe has a spectacular aura about
По умолчанию

Цитата:
Сообщение от НСО154 Посмотреть сообщение
Только, это как-то нелепо, управлять умным блоком более умным)))))))
Умный блок недостаточно умный, и к управлению чем-то отличным от АТХ материнской платы оказался совсем не приспособлен. А сам БП неплохой, и цена хорошая. так что почему бы и нет.
__________________
PIPO X8 (Win 10 32-bit) -> Audiomulch -> раздельные USB ЦАПы на фронт и сабвуфер, каналы нарезаны программно фильтрами с линейной фазой.
+ SSD в USB-кармане + камера заднего вида через Easy Cap + USB GPS приёмник + Bluetooth пульт на руль.
JamesDoe вне форума   Ответить с цитированием
Старый 17.07.2019, 08:56   #64
-=zds=-
Старший Пользователь
 
Регистрация: 06.04.2009
Возраст: 42
Город: Владивосток
Регион: 25
Машина: Toyota CAMRY
Сообщений: 636
-=zds=- is a jewel in the rough-=zds=- is a jewel in the rough-=zds=- is a jewel in the rough
По умолчанию

Я правильно понял, что речь идет тут о таком блоке:
Нажмите на изображение для увеличения
Название: TB2pJNooypnpuFjSZFIXXXh2VXa_!!76061076.jpg
Просмотров: 1103
Размер:	420.4 Кб
ID:	51368
И у него нет ни какой логики? Он вообще компом не управляет? И настроек режимов у него тоже нет никаких, и дежурку (+5VUSB) он тоже отрубает сразу после того как пропало АСС?

А то собираю комп знакомому и хотел именно такой блок взять.
__________________
Chaser продал
forester продал
Legacy продал
Impreza GH8 идет постройка... Продал, комп забрал...
Toyota Camry 2015 07.09.18 Продал комп отдал с машиной, следующий будет полностью с ноля!
-=zds=- вне форума   Ответить с цитированием
Старый 17.07.2019, 10:09   #65
JamesDoe
Старший Пользователь
 
Регистрация: 13.09.2015
Регион: Беларусь
Машина: OOOO
Сообщений: 285
JamesDoe has a spectacular aura aboutJamesDoe has a spectacular aura aboutJamesDoe has a spectacular aura about
По умолчанию

Цитата:
Сообщение от -=zds=- Посмотреть сообщение
Я правильно понял, что речь идет тут о таком блоке
Да, очень похож. У него, как раз-таки есть логика, но мне она не подошла, поэтому пришлось переключить в "тупой" режим и управлять самому внешним микроконтроллером. В тупом режиме дежурка есть всегда, подозреваю, что и в нормальном тоже (и мне это очень пригодилось для питания моего МК). А так, вообще, этот БП рассчитан на подключение АТХ материнской платы, и логика его на это заточена. У продавца на Али, где я покупал, было подробное описание функций.
__________________
PIPO X8 (Win 10 32-bit) -> Audiomulch -> раздельные USB ЦАПы на фронт и сабвуфер, каналы нарезаны программно фильтрами с линейной фазой.
+ SSD в USB-кармане + камера заднего вида через Easy Cap + USB GPS приёмник + Bluetooth пульт на руль.

Последний раз редактировалось JamesDoe; 17.07.2019 в 11:24.
JamesDoe вне форума   Ответить с цитированием
Старый 17.07.2019, 11:07   #66
Vladget
Moderator
 
Регистрация: 04.04.2009
Возраст: 69
Город: Краснодар
Регион: 23, 93
Машина: HONDA CR-V-08
Сообщений: 3,129
Vladget is a splendid one to beholdVladget is a splendid one to beholdVladget is a splendid one to beholdVladget is a splendid one to beholdVladget is a splendid one to beholdVladget is a splendid one to beholdVladget is a splendid one to behold
По умолчанию

забей этот же товар на али там хоть какое то описание есть (вот я открыл первый попавшийся там написано "работа интеллектуальная: поддержка функции включения питания при самостоятельном запуске, включение питания при нормальном отключении или включение питания при аномальном отключении питания, x5-ATX-180 плата питания может использовать функцию автоматического запуска (необходимо сотрудничать с настройками материнской платы BIOS)."
__________________


Vladget вне форума   Ответить с цитированием
Старый 17.07.2019, 12:11   #67
-=zds=-
Старший Пользователь
 
Регистрация: 06.04.2009
Возраст: 42
Город: Владивосток
Регион: 25
Машина: Toyota CAMRY
Сообщений: 636
-=zds=- is a jewel in the rough-=zds=- is a jewel in the rough-=zds=- is a jewel in the rough
По умолчанию

Цитата:
Сообщение от Vladget Посмотреть сообщение
забей этот же товар на али там хоть какое то описание есть (вот я открыл первый попавшийся там написано "работа интеллектуальная: поддержка функции включения питания при самостоятельном запуске, включение питания при нормальном отключении или включение питания при аномальном отключении питания, x5-ATX-180 плата питания может использовать функцию автоматического запуска (необходимо сотрудничать с настройками материнской платы BIOS)."
Я это читал, но нихера не понял, он кнопку жмет при отключении и при включении, или че он мутит?
__________________
Chaser продал
forester продал
Legacy продал
Impreza GH8 идет постройка... Продал, комп забрал...
Toyota Camry 2015 07.09.18 Продал комп отдал с машиной, следующий будет полностью с ноля!
-=zds=- вне форума   Ответить с цитированием
Старый 17.07.2019, 12:27   #68
skanch
Модератор
 
Аватар для skanch
 
Регистрация: 19.01.2010
Возраст: 60
Город: Санкт-Петербург
Регион: 78, 98
Сообщений: 2,669
skanch has a brilliant futureskanch has a brilliant futureskanch has a brilliant futureskanch has a brilliant futureskanch has a brilliant futureskanch has a brilliant futureskanch has a brilliant futureskanch has a brilliant futureskanch has a brilliant futureskanch has a brilliant futureskanch has a brilliant future
По умолчанию

Цитата:
Сообщение от -=zds=- Посмотреть сообщение
Я это читал, но нихера не понял, он кнопку жмет при отключении и при включении, или че он мутит?
Кнопку он, скорее всего не нажимает... Как выше обозначил Vladget: "..x5-ATX-180 плата питания может использовать функцию автоматического запуска (необходимо сотрудничать с настройками материнской платы BIOS)". Ниже фото от одного из продавцов. Там видна отдельная кнопка запуска системы.

Вложение 51369

Последний раз редактировалось skanch; 24.09.2019 в 17:32.
skanch вне форума   Ответить с цитированием
Старый 17.07.2019, 12:33   #69
-=zds=-
Старший Пользователь
 
Регистрация: 06.04.2009
Возраст: 42
Город: Владивосток
Регион: 25
Машина: Toyota CAMRY
Сообщений: 636
-=zds=- is a jewel in the rough-=zds=- is a jewel in the rough-=zds=- is a jewel in the rough
По умолчанию

Цитата:
Сообщение от skanch Посмотреть сообщение
Кнопку он, скорее всего не нажимает... Как выше обозначил Vladget "..x5-ATX-180 плата питания может использовать функцию автоматического запуска (необходимо сотрудничать с настройками материнской платы BIOS)". Ниже фото от одного из продавцов. Там видна отдельная кнопка запуска системы.

Вложение 51369
А судя по их же фоткам у него есть выводы на кнопку вкл, и зачем тогда у него контакт асс вообще, если он ничего не делает при его появлении/пропадании.
Нажмите на изображение для увеличения
Название: T2h6ZsXaNbXXXXXXXX_!!44780900.jpg
Просмотров: 1186
Размер:	74.9 Кб
ID:	51370

Да и кабель на кнопку вкл у них идет в комплекте:
Нажмите на изображение для увеличения
Название: T2BMFHXgtOXXXXXXXX_!!44780900.jpg
Просмотров: 1173
Размер:	35.6 Кб
ID:	51371

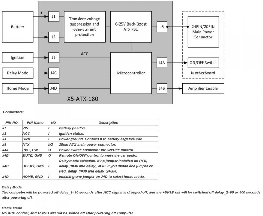
Вот на анг. языке понятно, что есть контроль авто вкл/вкл.
Нажмите на изображение для увеличения
Название: 14566093864132_b.jpg
Просмотров: 1175
Размер:	79.6 Кб
ID:	51372
__________________
Chaser продал
forester продал
Legacy продал
Impreza GH8 идет постройка... Продал, комп забрал...
Toyota Camry 2015 07.09.18 Продал комп отдал с машиной, следующий будет полностью с ноля!
-=zds=- вне форума   Ответить с цитированием
Старый 17.07.2019, 12:41   #70
skanch
Модератор
 
Аватар для skanch
 
Регистрация: 19.01.2010
Возраст: 60
Город: Санкт-Петербург
Регион: 78, 98
Сообщений: 2,669
skanch has a brilliant futureskanch has a brilliant futureskanch has a brilliant futureskanch has a brilliant futureskanch has a brilliant futureskanch has a brilliant futureskanch has a brilliant futureskanch has a brilliant futureskanch has a brilliant futureskanch has a brilliant futureskanch has a brilliant future
По умолчанию

Цитата:
Сообщение от -=zds=- Посмотреть сообщение
А судя по их же фоткам у него есть выводы на кнопку вкл, и зачем тогда у него контакт асс вообще, если он ничего не делает при его появлении/пропадании.
Если судить по этой картинке, то выход на кнопку есть... "Киты", как всегда с загадками - логику иногда не понять.
skanch вне форума   Ответить с цитированием
Ответ


Здесь присутствуют: 1 (пользователей: 0 , гостей: 1)
 

Ваши права в разделе
Вы не можете создавать новые темы
Вы не можете отвечать в темах
Вы не можете прикреплять вложения
Вы не можете редактировать свои сообщения

BB коды Вкл.
Смайлы Вкл.
[IMG] код Вкл.
HTML код Выкл.



Часовой пояс GMT +4, время: 22:50.


Работает на vBulletin® версия 3.8.4.
Copyright ©2000 - 2026, Jelsoft Enterprises Ltd.
Перевод: zCarot