PCCar.ru - Ваш автомобильный компьютер

Вернуться   PCCar.ru - Ваш автомобильный компьютер > MP3Car ТехИнфа > АвтоЗвук > Усилители

Ответ
 
Опции темы Поиск в этой теме
Старый 09.09.2016, 00:15   #91
quinine
Старший Пользователь
 
Регистрация: 06.06.2015
Возраст: 40
Регион: 78, 98
Сообщений: 130
quinine is on a distinguished road
По умолчанию

Кароч

у меня этих LM3886 тонны, полученных бесплатно в виде сэмплов и от National раньше и от TI недавно. Мне их покупать не нужно. Если кто-то возьмётся заказать в китае - пожалуйста.


Я, как и говорил, могу подготовить BOM с Маузера и заказать его полностью, если будет это интересно всем.

Я немножко фанатик этого дела, и не экономен в вопросах выбора комплектующих, поэтому что экономить для единичного экземпляра себе любимому - бессмысленно. Но нужно этот BOM будет всем обсудить сначала.
quinine вне форума   Ответить с цитированием
Старый 09.09.2016, 00:59   #92
basurman
Super Moderator
 
Аватар для basurman
 
Регистрация: 19.07.2011
Возраст: 54
Город: Нижегородские болота
Регион: 52
Машина: пешкарус
Сообщений: 2,033
basurman has a reputation beyond reputebasurman has a reputation beyond reputebasurman has a reputation beyond reputebasurman has a reputation beyond reputebasurman has a reputation beyond reputebasurman has a reputation beyond reputebasurman has a reputation beyond reputebasurman has a reputation beyond reputebasurman has a reputation beyond repute
По умолчанию

Цитата:
Сообщение от quinine Посмотреть сообщение
basurman

Ну если возьмёшься заказать в Китае то пожалуйста. Только особо дешевле не будет вот на этих комплектующих, которые нам нужны. То что продаётся на Али на Ебеях в виде LM3886 это 100% контрафактное говнище.
Это твои личные измышления, не имеющие никаких доказательств.
__________________
ВСЕ ДЛЯ АРДУИНО

Моя почта - mogirov971sobakamail.ru
basurman вне форума   Ответить с цитированием
Старый 09.09.2016, 02:43   #93
quinine
Старший Пользователь
 
Регистрация: 06.06.2015
Возраст: 40
Регион: 78, 98
Сообщений: 130
quinine is on a distinguished road
По умолчанию

Цитата:
Сообщение от basurman Посмотреть сообщение
Это твои личные измышления, не имеющие никаких доказательств.
Проверим? где заказывать 3886 в Китае. Может быть и нормалёк будет, может нет.

Закажу 1 штуку и проверю.
quinine вне форума   Ответить с цитированием
Старый 09.09.2016, 08:17   #94
basurman
Super Moderator
 
Аватар для basurman
 
Регистрация: 19.07.2011
Возраст: 54
Город: Нижегородские болота
Регион: 52
Машина: пешкарус
Сообщений: 2,033
basurman has a reputation beyond reputebasurman has a reputation beyond reputebasurman has a reputation beyond reputebasurman has a reputation beyond reputebasurman has a reputation beyond reputebasurman has a reputation beyond reputebasurman has a reputation beyond reputebasurman has a reputation beyond reputebasurman has a reputation beyond repute
По умолчанию

Приколист ты однако))) я не собираюсь никому ничего доказывать, я уже достаточно давно покупаю там электронные компоненты. Речь о том, что твои утверждения голословны и ничем не подтверждены.
__________________
ВСЕ ДЛЯ АРДУИНО

Моя почта - mogirov971sobakamail.ru
basurman вне форума   Ответить с цитированием
Старый 09.09.2016, 10:05   #95
Alex-L
Moderator
 
Аватар для Alex-L
 
Регистрация: 23.03.2008
Возраст: 55
Город: Москва, Нагорная
Регион: 77, 97, 99, 177
Машина: Mitsubishi Lancer-X
Сообщений: 2,096
Alex-L is a splendid one to beholdAlex-L is a splendid one to beholdAlex-L is a splendid one to beholdAlex-L is a splendid one to beholdAlex-L is a splendid one to beholdAlex-L is a splendid one to beholdAlex-L is a splendid one to behold
По умолчанию

quinine
По преобразователю с веги. Там несколько другая задача (и усилок мощнее и каналов больше) и соответственно другое решение. Нам по два полевика в канал не надо - у нас и так расчетная мощность бп в два раза больше максимально потребляемой. Управляющий сигнал усиливать опять же нет необходимости, т.к. полевиков по одному. Насчет двойной фильтрации и ДГС решение конечно интересное, но, имхо, избыточное. Контроль температуры и оборотов вентилятора уж точно в наш моноблок не надо, т.к. охлаждение нужно (или не нужно) для всей конструкции - полного усилителя, соответственно узел этот должен быть отдельным. Керамику впараллель к C3 можно и с нижней стороны платы, прямо на лапы С3 прилепить.

nektomaks, quinine
По резистору в средней точке. Кетайский мультиметр сказал что 1.2 Ом. Никто не мешает заменить этот резистор перемычкой, если уж так хочется. Не принципиально.

Господа! Идите вы уже...
в барыжную тему покупку деталей обсуждать!!!
Alex-L вне форума   Ответить с цитированием
Старый 09.09.2016, 10:58   #96
Alex-L
Moderator
 
Аватар для Alex-L
 
Регистрация: 23.03.2008
Возраст: 55
Город: Москва, Нагорная
Регион: 77, 97, 99, 177
Машина: Mitsubishi Lancer-X
Сообщений: 2,096
Alex-L is a splendid one to beholdAlex-L is a splendid one to beholdAlex-L is a splendid one to beholdAlex-L is a splendid one to beholdAlex-L is a splendid one to beholdAlex-L is a splendid one to beholdAlex-L is a splendid one to behold
По умолчанию

А у кого какие мысли по поводу терминалов силовых и на акустику?
У меня силовые провода 1AWG, на концах наконечники диаметром 8мм; акустические 2.5мм2, на концах наконечники диаметром 3мм.
Под акустику думаеццо вот это применить.
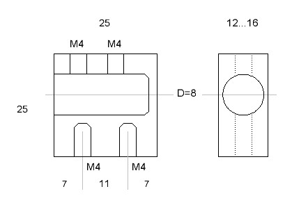
А вот под силовые... Самый простой вариант видится так: наконечники заменить на клеммы "О" и прикрутить болтами к кросс-плате. Другой вариант: фрезернуть из дюралия 10-12мм (типа как на картинко) - очень гиморный вариант. Третий вариант - купить готовые, но что-то пока не ищется, или ищется очень дорого.
Миниатюры
Нажмите на изображение для увеличения
Название: Терминал.JPG
Просмотров: 792
Размер:	13.4 Кб
ID:	44727  

Последний раз редактировалось Alex-L; 09.09.2016 в 13:01.
Alex-L вне форума   Ответить с цитированием
Старый 09.09.2016, 11:36   #97
basurman
Super Moderator
 
Аватар для basurman
 
Регистрация: 19.07.2011
Возраст: 54
Город: Нижегородские болота
Регион: 52
Машина: пешкарус
Сообщений: 2,033
basurman has a reputation beyond reputebasurman has a reputation beyond reputebasurman has a reputation beyond reputebasurman has a reputation beyond reputebasurman has a reputation beyond reputebasurman has a reputation beyond reputebasurman has a reputation beyond reputebasurman has a reputation beyond reputebasurman has a reputation beyond repute
По умолчанию

На Митьках, видел когда то такие терминалы, силовой как на БП М4, а под акустику как на усилках, только одноуровневые.
Вот посмотри.
__________________
ВСЕ ДЛЯ АРДУИНО

Моя почта - mogirov971sobakamail.ru
basurman вне форума   Ответить с цитированием
Старый 09.09.2016, 12:48   #98
nektomaks
Старший Пользователь
 
Регистрация: 23.11.2013
Возраст: 45
Регион: 77, 97, 99, 177
Машина: черный улан :) был, теперь серебристый чужеземец)
Сообщений: 278
nektomaks will become famous soon enough
По умолчанию

с терминалами силовыми совсем бяда, тоже давно ищу, барьерные называются, такие же как в заводских стоят, есть фирмы но нужно очень большие партии заказывать
nektomaks вне форума   Ответить с цитированием
Старый 09.09.2016, 13:00   #99
basurman
Super Moderator
 
Аватар для basurman
 
Регистрация: 19.07.2011
Возраст: 54
Город: Нижегородские болота
Регион: 52
Машина: пешкарус
Сообщений: 2,033
basurman has a reputation beyond reputebasurman has a reputation beyond reputebasurman has a reputation beyond reputebasurman has a reputation beyond reputebasurman has a reputation beyond reputebasurman has a reputation beyond reputebasurman has a reputation beyond reputebasurman has a reputation beyond reputebasurman has a reputation beyond repute
По умолчанию

Какие еще проблемы? Может и не искали просто, или не сильно надо было)))
3 контакта
4 контакта
10 контактов
__________________
ВСЕ ДЛЯ АРДУИНО

Моя почта - mogirov971sobakamail.ru
basurman вне форума   Ответить с цитированием
Старый 09.09.2016, 13:04   #100
Alex-L
Moderator
 
Аватар для Alex-L
 
Регистрация: 23.03.2008
Возраст: 55
Город: Москва, Нагорная
Регион: 77, 97, 99, 177
Машина: Mitsubishi Lancer-X
Сообщений: 2,096
Alex-L is a splendid one to beholdAlex-L is a splendid one to beholdAlex-L is a splendid one to beholdAlex-L is a splendid one to beholdAlex-L is a splendid one to beholdAlex-L is a splendid one to beholdAlex-L is a splendid one to behold
По умолчанию

Да этого барахла и у нас полно. У меня силовой провод (наконечник) диаметром 8мм, а акустический 3мм
Alex-L вне форума   Ответить с цитированием
Ответ


Здесь присутствуют: 1 (пользователей: 0 , гостей: 1)
 

Ваши права в разделе
Вы не можете создавать новые темы
Вы не можете отвечать в темах
Вы не можете прикреплять вложения
Вы не можете редактировать свои сообщения

BB коды Вкл.
Смайлы Вкл.
[IMG] код Вкл.
HTML код Выкл.



Часовой пояс GMT +4, время: 07:11.


Работает на vBulletin® версия 3.8.4.
Copyright ©2000 - 2026, Jelsoft Enterprises Ltd.
Перевод: zCarot