PCCar.ru - Ваш автомобильный компьютер

Вернуться   PCCar.ru - Ваш автомобильный компьютер > MP3Car ТехИнфа > Общение с машиной

Результаты опроса: Интерфейс программы TECU-III ...
меня устраивает 142 41.04%
требуется потратить время на переделку - пользоваться очень неудобно 15 4.34%
устраивает, но хорошо бы внести несерьезные измененния 34 9.83%
сойдет, лучше тратить время на добавление в программу поддержку новых модулей 146 42.20%
другой вариант 9 2.60%
Голосовавшие: 346. Вы ещё не голосовали в этом опросе

Закрытая тема
 
Опции темы Поиск в этой теме
Старый 22.11.2015, 18:08   #3541
ramo0n
Новый Пользователь
 
Регистрация: 11.10.2015
Возраст: 38
Город: Волгодонск
Регион: 61
Машина: nissan maxima a32 2.0 AT
Сообщений: 23
ramo0n is on a distinguished road
По умолчанию

Пробовать шить адаптер или звонить разъём?

Пс.
Из ecu на разъём consult идут три провода. Они звонятся..

Последний раз редактировалось ramo0n; 22.11.2015 в 18:41.
ramo0n вне форума  
Старый 22.11.2015, 18:25   #3542
тсж39
Старший Пользователь
 
Аватар для тсж39
 
Регистрация: 14.04.2011
Возраст: 66
Город: Санкт-Петербург
Регион: 78, 98
Машина: TOYOTA Sienta
Сообщений: 385
тсж39 is on a distinguished road
По умолчанию

да провода, судя по фото, в разъеме все нужные есть
попробовать нужно на другом авто, а лучше всего конечно, смотреть осциллографом сигналы
__________________
не стесняйтесь спрашивать
тсж39 вне форума  
Старый 22.11.2015, 18:41   #3543
ramo0n
Новый Пользователь
 
Регистрация: 11.10.2015
Возраст: 38
Город: Волгодонск
Регион: 61
Машина: nissan maxima a32 2.0 AT
Сообщений: 23
ramo0n is on a distinguished road
По умолчанию

Осцилограф имеется, что именно нужно смотреть?


Подключить адаптер, запустить диагностику и смотреть сигнал rdx?
ramo0n вне форума  
Старый 22.11.2015, 18:48   #3544
тсж39
Старший Пользователь
 
Аватар для тсж39
 
Регистрация: 14.04.2011
Возраст: 66
Город: Санкт-Петербург
Регион: 78, 98
Машина: TOYOTA Sienta
Сообщений: 385
тсж39 is on a distinguished road
По умолчанию

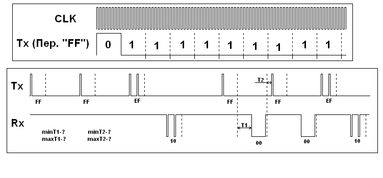
посмотрите сигнал CLK на 9 выводе, и Rx,Tx на 1 и 2 выводе, при запущенной диагностике
и результаты сюда
Миниатюры
Нажмите на изображение для увеличения
Название: RxTx.PNG
Просмотров: 942
Размер:	11.8 Кб
ID:	41740  
__________________
не стесняйтесь спрашивать
тсж39 вне форума  
Старый 22.11.2015, 19:34   #3545
ramo0n
Новый Пользователь
 
Регистрация: 11.10.2015
Возраст: 38
Город: Волгодонск
Регион: 61
Машина: nissan maxima a32 2.0 AT
Сообщений: 23
ramo0n is on a distinguished road
По умолчанию

Цитата:
Сообщение от тсж39 Посмотреть сообщение
посмотрите сигнал CLK на 9 выводе, и Rx,Tx на 1 и 2 выводе, при запущенной диагностике
и результаты сюда
Таких осциллограмм как у Вас на картинке у меня не получилось, к сожалению, скорее всего что с этим прибором я знаком всего на всего несколько дней.
Все что получилось сброшу уже из дома архивом.
Там куча корявых картинок.

Прибор ds203
ramo0n вне форума  
Старый 22.11.2015, 23:03   #3546
ramo0n
Новый Пользователь
 
Регистрация: 11.10.2015
Возраст: 38
Город: Волгодонск
Регион: 61
Машина: nissan maxima a32 2.0 AT
Сообщений: 23
ramo0n is on a distinguished road
По умолчанию

скринщоты и фото с осциллографа.
разные ракурсы, настройки прибора и тп. ибо как, я пока что смутно представляю как это правильно сделать
не судите строго
Миниатюры
Нажмите на изображение для увеличения
Название: C360_2015-11-22-18-15-55-405.jpg
Просмотров: 663
Размер:	61.0 Кб
ID:	41742   Нажмите на изображение для увеличения
Название: C360_2015-11-22-18-16-59-915.jpg
Просмотров: 923
Размер:	48.1 Кб
ID:	41743   Нажмите на изображение для увеличения
Название: C360_2015-11-22-18-17-19-576.jpg
Просмотров: 659
Размер:	60.0 Кб
ID:	41744   Нажмите на изображение для увеличения
Название: C360_2015-11-22-18-17-52-236.jpg
Просмотров: 639
Размер:	62.5 Кб
ID:	41745   Нажмите на изображение для увеличения
Название: C360_2015-11-22-18-18-01-513.jpg
Просмотров: 629
Размер:	63.3 Кб
ID:	41746  

Нажмите на изображение для увеличения
Название: C360_2015-11-22-18-18-29-851.jpg
Просмотров: 926
Размер:	64.6 Кб
ID:	41747  
Изображения
Тип файла: bmp IMAG004.BMP (47.0 Кб, 819 просмотров)
Тип файла: bmp IMAG005.BMP (47.0 Кб, 1116 просмотров)
Тип файла: bmp IMAG006.BMP (47.0 Кб, 754 просмотров)
Тип файла: bmp IMAG007.BMP (47.0 Кб, 1014 просмотров)
ramo0n вне форума  
Старый 23.11.2015, 00:01   #3547
тсж39
Старший Пользователь
 
Аватар для тсж39
 
Регистрация: 14.04.2011
Возраст: 66
Город: Санкт-Петербург
Регион: 78, 98
Машина: TOYOTA Sienta
Сообщений: 385
тсж39 is on a distinguished road
По умолчанию

нужно подписывать какой график с какого вывода, сигнала CLK не выложили
разрешение каналов по y нужно ставить 1-2 вольта
вот примерно так должно быть
Миниатюры
Нажмите на изображение для увеличения
Название: RxTx Nissan.PNG
Просмотров: 897
Размер:	24.0 Кб
ID:	41752  
__________________
не стесняйтесь спрашивать
тсж39 вне форума  
Старый 23.11.2015, 04:52   #3548
mac_2b
Banned
 
Регистрация: 23.01.2014
Возраст: 48
Город: Хабаровск
Регион: 27
Сообщений: 552
mac_2b is a jewel in the roughmac_2b is a jewel in the roughmac_2b is a jewel in the rough
По умолчанию

Установил CDM v2.12.06 на адаптер с поддельным FTDI , VID/ PID не изменился , осталось проверить работоспособность.

Адаптер с новым драйвером не работает, и после установки FTDI-2.08.24 у вы тоже.

Заработал после прошивки.

Последний раз редактировалось mac_2b; 23.11.2015 в 11:30.
mac_2b вне форума  
Старый 23.11.2015, 08:08   #3549
ramo0n
Новый Пользователь
 
Регистрация: 11.10.2015
Возраст: 38
Город: Волгодонск
Регион: 61
Машина: nissan maxima a32 2.0 AT
Сообщений: 23
ramo0n is on a distinguished road
По умолчанию

Цитата:
Сообщение от тсж39 Посмотреть сообщение
нужно подписывать какой график с какого вывода, сигнала CLK не выложили
разрешение каналов по y нужно ставить 1-2 вольта
вот примерно так должно быть

все графики сигнала CLK, просто при разных временных значениях (интервалах считывания сигнала в msec ).
по сути один и тот же график, только где-то более сжатый, где-то более растянутый по временной оси.

укажите точные (правильные) настройки для прибора, и сегодня сниму показания по новой )
ramo0n вне форума  
Старый 23.11.2015, 10:48   #3550
тсж39
Старший Пользователь
 
Аватар для тсж39
 
Регистрация: 14.04.2011
Возраст: 66
Город: Санкт-Петербург
Регион: 78, 98
Машина: TOYOTA Sienta
Сообщений: 385
тсж39 is on a distinguished road
По умолчанию

вот осциллограмма сигнала CLK
Миниатюры
Нажмите на изображение для увеличения
Название: CLK - 153 КГц.PNG
Просмотров: 943
Размер:	24.1 Кб
ID:	41759   Нажмите на изображение для увеличения
Название: плата.jpg
Просмотров: 674
Размер:	98.0 Кб
ID:	41760  
__________________
не стесняйтесь спрашивать
тсж39 вне форума  
Закрытая тема

Метки
nissan, toyota, диагностика


Здесь присутствуют: 1 (пользователей: 0 , гостей: 1)
 

Ваши права в разделе
Вы не можете создавать новые темы
Вы не можете отвечать в темах
Вы не можете прикреплять вложения
Вы не можете редактировать свои сообщения

BB коды Вкл.
Смайлы Вкл.
[IMG] код Вкл.
HTML код Выкл.



Часовой пояс GMT +4, время: 12:59.


Работает на vBulletin® версия 3.8.4.
Copyright ©2000 - 2026, Jelsoft Enterprises Ltd.
Перевод: zCarot