PCCar.ru - Ваш автомобильный компьютер

PCCar.ru - Ваш автомобильный компьютер (https://pccar.ru/index.php)
-   Китайские блоки питания (https://pccar.ru/forumdisplay.php?f=160)
-   -   X5-ATX - кто-нибудь использовал? (https://pccar.ru/showthread.php?t=23449)

lekksus 01.12.2017 20:06

Спасибо за подсказку. А ссылки можно на скетч ,схему?

НСО154 01.12.2017 20:43

Цитата:

Сообщение от lekksus (Сообщение 395754)
Спасибо за подсказку. А ссылки можно на скетч ,схему?

Можешь у меня списать:)
Только, это как-то нелепо, управлять умным блоком более умным)))))))

JamesDoe 02.12.2017 01:31

Цитата:

Сообщение от НСО154 (Сообщение 395756)
Только, это как-то нелепо, управлять умным блоком более умным)))))))

Умный блок недостаточно умный, и к управлению чем-то отличным от АТХ материнской платы оказался совсем не приспособлен. А сам БП неплохой, и цена хорошая. так что почему бы и нет.

-=zds=- 17.07.2019 08:56

Вложений: 1
Я правильно понял, что речь идет тут о таком блоке:
Вложение 51368
И у него нет ни какой логики? Он вообще компом не управляет? И настроек режимов у него тоже нет никаких, и дежурку (+5VUSB) он тоже отрубает сразу после того как пропало АСС?

А то собираю комп знакомому и хотел именно такой блок взять.

JamesDoe 17.07.2019 10:09

Цитата:

Сообщение от -=zds=- (Сообщение 410751)
Я правильно понял, что речь идет тут о таком блоке

Да, очень похож. У него, как раз-таки есть логика, но мне она не подошла, поэтому пришлось переключить в "тупой" режим и управлять самому внешним микроконтроллером. В тупом режиме дежурка есть всегда, подозреваю, что и в нормальном тоже (и мне это очень пригодилось для питания моего МК). А так, вообще, этот БП рассчитан на подключение АТХ материнской платы, и логика его на это заточена. У продавца на Али, где я покупал, было подробное описание функций.

Vladget 17.07.2019 11:07

забей этот же товар на али там хоть какое то описание есть (вот я открыл первый попавшийся там написано "работа интеллектуальная: поддержка функции включения питания при самостоятельном запуске, включение питания при нормальном отключении или включение питания при аномальном отключении питания, x5-ATX-180 плата питания может использовать функцию автоматического запуска (необходимо сотрудничать с настройками материнской платы BIOS)."

-=zds=- 17.07.2019 12:11

Цитата:

Сообщение от Vladget (Сообщение 410753)
забей этот же товар на али там хоть какое то описание есть (вот я открыл первый попавшийся там написано "работа интеллектуальная: поддержка функции включения питания при самостоятельном запуске, включение питания при нормальном отключении или включение питания при аномальном отключении питания, x5-ATX-180 плата питания может использовать функцию автоматического запуска (необходимо сотрудничать с настройками материнской платы BIOS)."

Я это читал, но нихера не понял, он кнопку жмет при отключении и при включении, или че он мутит?

skanch 17.07.2019 12:27

Цитата:

Сообщение от -=zds=- (Сообщение 410754)
Я это читал, но нихера не понял, он кнопку жмет при отключении и при включении, или че он мутит?

Кнопку он, скорее всего не нажимает... Как выше обозначил Vladget: "..x5-ATX-180 плата питания может использовать функцию автоматического запуска (необходимо сотрудничать с настройками материнской платы BIOS)". Ниже фото от одного из продавцов. Там видна отдельная кнопка запуска системы.

Вложение 51369

-=zds=- 17.07.2019 12:33

Вложений: 3
Цитата:

Сообщение от skanch (Сообщение 410755)
Кнопку он, скорее всего не нажимает... Как выше обозначил Vladget "..x5-ATX-180 плата питания может использовать функцию автоматического запуска (необходимо сотрудничать с настройками материнской платы BIOS)". Ниже фото от одного из продавцов. Там видна отдельная кнопка запуска системы.

Вложение 51369

А судя по их же фоткам у него есть выводы на кнопку вкл, и зачем тогда у него контакт асс вообще, если он ничего не делает при его появлении/пропадании.
Вложение 51370

Да и кабель на кнопку вкл у них идет в комплекте:
Вложение 51371

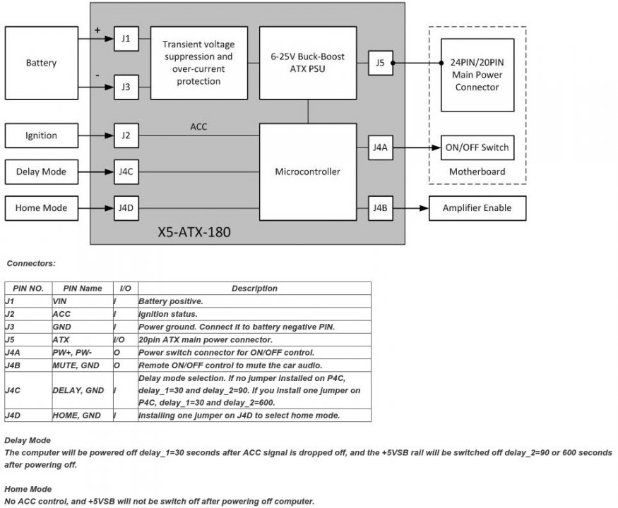
Вот на анг. языке понятно, что есть контроль авто вкл/вкл.
Вложение 51372

skanch 17.07.2019 12:41

Цитата:

Сообщение от -=zds=- (Сообщение 410757)
А судя по их же фоткам у него есть выводы на кнопку вкл, и зачем тогда у него контакт асс вообще, если он ничего не делает при его появлении/пропадании.

Если судить по этой картинке, то выход на кнопку есть... "Киты", как всегда с загадками - логику иногда не понять.


Часовой пояс GMT +4, время: 21:01.

Работает на vBulletin® версия 3.8.4.
Copyright ©2000 - 2025, Jelsoft Enterprises Ltd.
Перевод: zCarot