PCCar.ru - Ваш автомобильный компьютер

Вернуться   PCCar.ru - Ваш автомобильный компьютер > Всё Остальное > Проекты

Ответ
 
Опции темы Поиск в этой теме
Старый 15.12.2007, 00:09   #11
archer
Гуру
 
Аватар для archer
 
Регистрация: 17.10.2006
Возраст: 51
Город: Москва
Регион: 77, 97, 99, 177
Машина: 2007\chery\Amulet
Сообщений: 1,691
archer will become famous soon enougharcher will become famous soon enough
По умолчанию

Э-э-э-э-э-э. Я не ошибся там инвертор? тока для питания ноута и 5в питания хабов?

от 12 низзя было запитать - имхо КПД инвертора не самое большое в мире

И еще - все хорошо, аккуратно - 2 моника, гут...... но я видел как у webcrew сделано, поэтому 2 место среди каптив.
__________________
Монитор - XDX 8" | Мать - Asus M2NPV-VM| Камень - AMD Athlon 64 X2 3800+ EE | Память - DDR2-533 2х512 | SB live 24-bit (Don_ik_kot edition) | Винт - 3,5" 250 Gb Seagate Barracuda | Корпус - ноунейм миниатх | БП - SL PSU | GPS GlobalSat BU-355 | Silabs USB Radio | Bluetooth noname (Broadcom) |USB-Hub D-Link 7 ports | Card-reader 52-in-1 | Radio mouse |WiFi LinkSys WUSB54G| усилитель Fusion EN-AM6004 |Keyboard | Centrafuse| а еще парктроник с камерой
archer вне форума   Ответить с цитированием
Старый 15.12.2007, 15:38   #12
Stellar
Новый Пользователь
 
Аватар для Stellar
 
Регистрация: 11.12.2007
Возраст: 67
Город: Киев
Регион: 77, 97, 99, 177
Машина: Captiva 2.4
Сообщений: 16
Stellar is on a distinguished road
По умолчанию

Это первый вариант... сейчас стоит комп на материнке с питанием от 12 вольт напрямую. Инвертор перекочевал в багажник как запас для всяких случаев:-) Хабы теперь запитаны от материнки ( в первом варианте очень слабая материнка была и не хватало 5в на питание переферии). Если не поленюсь- нарисую схему и выложу. Сейчас буду переделывать на встроенный монитор... вот тогда точно буду на 1 месте :-)
__________________
Мой компьютер: VIA-1000 (micro 17x17)/512МБ/40Гб + VGA 7" Liliput встроенный с тачскрином + USB GPS+камера з/х.
Stellar вне форума   Ответить с цитированием
Старый 15.12.2007, 23:21   #13
Stellar
Новый Пользователь
 
Аватар для Stellar
 
Регистрация: 11.12.2007
Возраст: 67
Город: Киев
Регион: 77, 97, 99, 177
Машина: Captiva 2.4
Сообщений: 16
Stellar is on a distinguished road
По умолчанию

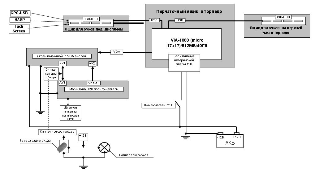
Перерисовал :-)
Миниатюры
Нажмите на изображение для увеличения
Название: Схема.JPG
Просмотров: 1187
Размер:	56.2 Кб
ID:	4913  
__________________
Мой компьютер: VIA-1000 (micro 17x17)/512МБ/40Гб + VGA 7" Liliput встроенный с тачскрином + USB GPS+камера з/х.
Stellar вне форума   Ответить с цитированием
Старый 15.12.2007, 23:25   #14
Beer100
Гуру
 
Аватар для Beer100
 
Регистрация: 04.01.2006
Возраст: 56
Город: Минск
Регион: Беларусь
Машина: 2002\Audi\A6 3.0i
Сообщений: 1,135
Beer100 will become famous soon enough
По умолчанию

А что такое "Блок питания материнской платы"?
__________________
БП SL "умнай"- Сергея Лебедева (собственного изготовления), 7" Prology PCM-700, PIII 1,2 Tualatin, Intel i815, Video Gforce 440 64mb
, 2.5" HDD 40 Gb (Hitachi), 2.5" HDD 60 Gb (Fujitsu), PCI->USB2.0,
PCI TV tuner Beholder Behold TV 507 FM, DVD 5.25" (USB -> IDE переходник), GPS Globalsat BU-353, Web камера 3-COM, USB HUB D-Link, BT,
Софт: оболочка - Centrafuse, Навигация - GisRX, EDGE
Beer100 вне форума   Ответить с цитированием
Старый 16.12.2007, 00:30   #15
Stellar
Новый Пользователь
 
Аватар для Stellar
 
Регистрация: 11.12.2007
Возраст: 67
Город: Киев
Регион: 77, 97, 99, 177
Машина: Captiva 2.4
Сообщений: 16
Stellar is on a distinguished road
По умолчанию

Это маленькая платка для подключения материнки прямо к бортовой сети с фильтром помех. на фото отдельно платка... материнка с ней и крупным планом-место соединения.
Миниатюры
Нажмите на изображение для увеличения
Название: питание1.JPG
Просмотров: 1013
Размер:	35.8 Кб
ID:	4914   Нажмите на изображение для увеличения
Название: питание2.JPG
Просмотров: 990
Размер:	39.3 Кб
ID:	4915   Нажмите на изображение для увеличения
Название: питание3.JPG
Просмотров: 968
Размер:	31.8 Кб
ID:	4916  
__________________
Мой компьютер: VIA-1000 (micro 17x17)/512МБ/40Гб + VGA 7" Liliput встроенный с тачскрином + USB GPS+камера з/х.
Stellar вне форума   Ответить с цитированием
Старый 16.12.2007, 02:03   #16
Beer100
Гуру
 
Аватар для Beer100
 
Регистрация: 04.01.2006
Возраст: 56
Город: Минск
Регион: Беларусь
Машина: 2002\Audi\A6 3.0i
Сообщений: 1,135
Beer100 will become famous soon enough
По умолчанию

Помоему это просто фильтр питающего напряжения. Или я неправ?
__________________
БП SL "умнай"- Сергея Лебедева (собственного изготовления), 7" Prology PCM-700, PIII 1,2 Tualatin, Intel i815, Video Gforce 440 64mb
, 2.5" HDD 40 Gb (Hitachi), 2.5" HDD 60 Gb (Fujitsu), PCI->USB2.0,
PCI TV tuner Beholder Behold TV 507 FM, DVD 5.25" (USB -> IDE переходник), GPS Globalsat BU-353, Web камера 3-COM, USB HUB D-Link, BT,
Софт: оболочка - Centrafuse, Навигация - GisRX, EDGE
Beer100 вне форума   Ответить с цитированием
Старый 16.12.2007, 02:08   #17
webcrew
Старший Пользователь
 
Регистрация: 03.07.2007
Город: Москва
Регион: 77, 97, 99, 177
Машина: 07\Chevrolet\Captiva
Сообщений: 474
webcrew has a spectacular aura aboutwebcrew has a spectacular aura aboutwebcrew has a spectacular aura about
По умолчанию

Ой.. у меня только один вопрос
А нахрена HASP в машине ?
__________________
Каптива-карписишко - продана
Соренто-винцеешко
webcrew вне форума   Ответить с цитированием
Старый 16.12.2007, 02:17   #18
Beer100
Гуру
 
Аватар для Beer100
 
Регистрация: 04.01.2006
Возраст: 56
Город: Минск
Регион: Беларусь
Машина: 2002\Audi\A6 3.0i
Сообщений: 1,135
Beer100 will become famous soon enough
По умолчанию

Цитата:
Сообщение от webcrew Посмотреть сообщение
Ой.. у меня только один вопрос
А нахрена HASP в машине ?
а вдруг авто угонят!
А может у человека так противоугонка организована? Но тогда в диаграмме нехватает львиной доли узлов и блоков...

Ждем ответа от автора.
__________________
БП SL "умнай"- Сергея Лебедева (собственного изготовления), 7" Prology PCM-700, PIII 1,2 Tualatin, Intel i815, Video Gforce 440 64mb
, 2.5" HDD 40 Gb (Hitachi), 2.5" HDD 60 Gb (Fujitsu), PCI->USB2.0,
PCI TV tuner Beholder Behold TV 507 FM, DVD 5.25" (USB -> IDE переходник), GPS Globalsat BU-353, Web камера 3-COM, USB HUB D-Link, BT,
Софт: оболочка - Centrafuse, Навигация - GisRX, EDGE
Beer100 вне форума   Ответить с цитированием
Старый 16.12.2007, 02:36   #19
Stellar
Новый Пользователь
 
Аватар для Stellar
 
Регистрация: 11.12.2007
Возраст: 67
Город: Киев
Регион: 77, 97, 99, 177
Машина: Captiva 2.4
Сообщений: 16
Stellar is on a distinguished road
По умолчанию

Это не только фильтр... Стабилизированные +12 +5 выдает на материнку как обычный блок питания. А HASP нужен для работы карты на компе.. так уж организована защита программы:-) Визиком!
__________________
Мой компьютер: VIA-1000 (micro 17x17)/512МБ/40Гб + VGA 7" Liliput встроенный с тачскрином + USB GPS+камера з/х.
Stellar вне форума   Ответить с цитированием
Старый 16.12.2007, 03:08   #20
webcrew
Старший Пользователь
 
Регистрация: 03.07.2007
Город: Москва
Регион: 77, 97, 99, 177
Машина: 07\Chevrolet\Captiva
Сообщений: 474
webcrew has a spectacular aura aboutwebcrew has a spectacular aura aboutwebcrew has a spectacular aura about
По умолчанию

Stellar - а точно ж ...если мне память не изменяет это одна из лучших украинских навигашек , да ?
__________________
Каптива-карписишко - продана
Соренто-винцеешко
webcrew вне форума   Ответить с цитированием
Ответ


Здесь присутствуют: 1 (пользователей: 0 , гостей: 1)
 

Ваши права в разделе
Вы не можете создавать новые темы
Вы не можете отвечать в темах
Вы не можете прикреплять вложения
Вы не можете редактировать свои сообщения

BB коды Вкл.
Смайлы Вкл.
[IMG] код Вкл.
HTML код Выкл.



Часовой пояс GMT +4, время: 22:02.


Работает на vBulletin® версия 3.8.4.
Copyright ©2000 - 2026, Jelsoft Enterprises Ltd.
Перевод: zCarot