PCCar.ru - Ваш автомобильный компьютер

Вернуться   PCCar.ru - Ваш автомобильный компьютер > MP3Car ТехИнфа > Мониторы > Вопросы по прошивкам

Закрытая тема
 
Опции темы Поиск в этой теме
Старый 11.03.2014, 19:29   #411
-=zds=-
Старший Пользователь
 
Регистрация: 06.04.2009
Возраст: 42
Город: Владивосток
Регион: 25
Машина: Toyota CAMRY
Сообщений: 636
-=zds=- is a jewel in the rough-=zds=- is a jewel in the rough-=zds=- is a jewel in the rough
По умолчанию

При подачи питания, включает последний вход, но только если это hdmi или VGA, если это ав, то переключаемся на след вход который активирован в source, и смотрим есть ли там сигнал, есть остаемся на нем, нет, переключаем на след вход из активных в source и смотрим есть ли там сигнал, есть остаемся там, нет дальше, но цикл не больше двух раз, а то без источников на столе будет по кругу гонять. Если в source всего один вход отмечен, то оставаться на нем до появления сигнала, ав входы не считаем
__________________
Chaser продал
forester продал
Legacy продал
Impreza GH8 идет постройка... Продал, комп забрал...
Toyota Camry 2015 07.09.18 Продал комп отдал с машиной, следующий будет полностью с ноля!
-=zds=- вне форума  
Старый 11.03.2014, 19:41   #412
ancc
Гуру
 
Регистрация: 17.03.2008
Возраст: 47
Город: Новокузнецк
Регион: 42
Машина: 2003\Lexus\RX330
Сообщений: 1,192
ancc is a splendid one to beholdancc is a splendid one to beholdancc is a splendid one to beholdancc is a splendid one to beholdancc is a splendid one to beholdancc is a splendid one to beholdancc is a splendid one to behold
По умолчанию

del.

Последний раз редактировалось ancc; 11.03.2014 в 21:44.
ancc вне форума  
Старый 11.03.2014, 19:42   #413
han2001
Старший Пользователь
 
Регистрация: 28.02.2007
Возраст: 45
Город: Раменское, Рязань
Регион: 62
Машина: 2006 Hyundai Tucson 2.0 4WD
Сообщений: 245
han2001 is on a distinguished road
По умолчанию

Цитата:
Сообщение от ancc Посмотреть сообщение
такое может быть, если подаешь питание, а на последнем входе который был запомнен нет сигнала. Я не уверен, но что-то похожее я встречал, у меня вроде записано даже как баг в списке.

насчет камеры, а вы питаете ее от нормального источника? Вдруг там какие-нибудь пульсации, а на фильтрах китайцы сэкономили.

И кстати если можно пришлите осциллограмму сигнала с этой камеры.
Опробовал и такой вариант, контроллер включается сразу.
Попробую другой источник питания найти, просто на ТВ все показывается нормально, видео я выкладывал выше. Как найду другой источник питания, то опробую, а там кто его знает.
Ниже попытался снять осциллограммы градации серого, первая попавшаяся картинка в интернете
Миниатюры
Нажмите на изображение для увеличения
Название: AV.jpg
Просмотров: 1142
Размер:	20.8 Кб
ID:	35185  
han2001 вне форума  
Старый 11.03.2014, 19:46   #414
iddqd1
Старший Пользователь
 
Регистрация: 20.05.2013
Регион: 02
Сообщений: 152
iddqd1 is on a distinguished road
По умолчанию

Цитата:
Сообщение от ancc Посмотреть сообщение
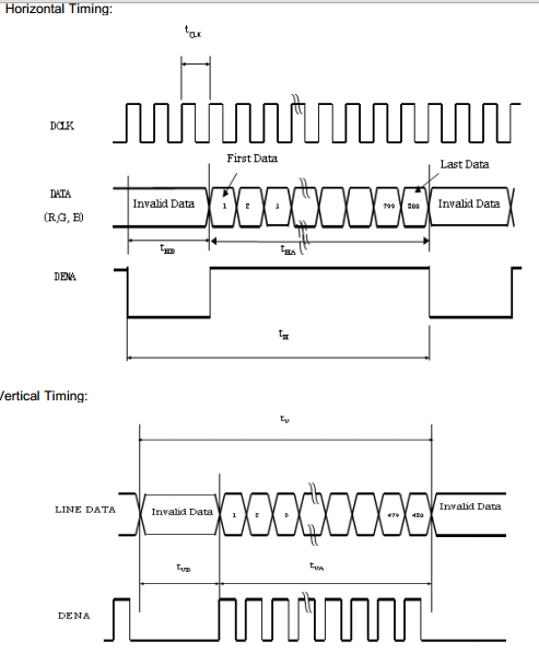
я вам отправил картинку щас, нашел в одном даташите. там относительно таймингов. Судя по ней, начальную позицию надо ставить значительно позже.
Эх, если бы я понимал, что на ней изображено. Для меня эти диаграммы сигналов для матрицы темный лес. Когда-то пытался понять, но так и не нашел внятного толкования. Пойду еще погуглю.
iddqd1 вне форума  
Старый 11.03.2014, 19:49   #415
ancc
Гуру
 
Регистрация: 17.03.2008
Возраст: 47
Город: Новокузнецк
Регион: 42
Машина: 2003\Lexus\RX330
Сообщений: 1,192
ancc is a splendid one to beholdancc is a splendid one to beholdancc is a splendid one to beholdancc is a splendid one to beholdancc is a splendid one to beholdancc is a splendid one to beholdancc is a splendid one to behold
По умолчанию

Цитата:
Сообщение от han2001 Посмотреть сообщение
Опробовал и такой вариант, контроллер включается сразу.
Попробую другой источник питания найти, просто на ТВ все показывается нормально, видео я выкладывал выше. Как найду другой источник питания, то опробую, а там кто его знает.
Ниже попытался снять осциллограммы градации серого, первая попавшаяся картинка в интернете
на современном тв как правило мощный процессор стоит, он даже плохой видеосигнал вытягивает.

некоторое время назад тестил RGBS->Composite кодер, который запитал от каких-то непонятных 5В. Так у меня на телеке картинка была идеальная, а RTD даже с родной прошивкой (нынешней еще не было рабочей) нормально этот сигнал не показывал.
ancc вне форума  
Старый 11.03.2014, 19:52   #416
ancc
Гуру
 
Регистрация: 17.03.2008
Возраст: 47
Город: Новокузнецк
Регион: 42
Машина: 2003\Lexus\RX330
Сообщений: 1,192
ancc is a splendid one to beholdancc is a splendid one to beholdancc is a splendid one to beholdancc is a splendid one to beholdancc is a splendid one to beholdancc is a splendid one to beholdancc is a splendid one to behold
По умолчанию

Цитата:
Сообщение от iddqd1 Посмотреть сообщение
Эх, если бы я понимал, что на ней изображено. Для меня эти диаграммы сигналов для матрицы темный лес. Когда-то пытался понять, но так и не нашел внятного толкования. Пойду еще погуглю.
Смысл в том что T3 это _STD_DH_TOTAL
а T4 это _DISP_WID.
Соответственно _DH_ACT_STA_POS должно быть T3-T4 ??
Миниатюры
Нажмите на изображение для увеличения
Название: TIMING.jpg
Просмотров: 1061
Размер:	94.5 Кб
ID:	35186  
ancc вне форума  
Старый 11.03.2014, 20:30   #417
han2001
Старший Пользователь
 
Регистрация: 28.02.2007
Возраст: 45
Город: Раменское, Рязань
Регион: 62
Машина: 2006 Hyundai Tucson 2.0 4WD
Сообщений: 245
han2001 is on a distinguished road
По умолчанию

Цитата:
Сообщение от ancc Посмотреть сообщение
на современном тв как правило мощный процессор стоит, он даже плохой видеосигнал вытягивает.

некоторое время назад тестил RGBS->Composite кодер, который запитал от каких-то непонятных 5В. Так у меня на телеке картинка была идеальная, а RTD даже с родной прошивкой (нынешней еще не было рабочей) нормально этот сигнал не показывал.
Вообщем опробовал еще пару источников на 12В и 14В, результат тот же. Т.к. источники все импульсные, то теорию насчет помех я бы согласился. Но когда в качестве 4-го источника взял аккумулятор на 12 В (на нем было 13В) от ИБП и результат тот же, то думаю, что надо все же искать решение проблемы в прошивке. Кстати вспомнил с родной прошивкой от китайца эта камера работала. Завтра еще раз залью родную прошивку и посмотрю как будет вести себя камера, может контроллер накрылся. хотя с чего, вообщем завтра узнаю.
han2001 вне форума  
Старый 11.03.2014, 20:31   #418
iddqd1
Старший Пользователь
 
Регистрация: 20.05.2013
Регион: 02
Сообщений: 152
iddqd1 is on a distinguished road
По умолчанию

Наверное.
Меня смущает в этом случае необходимость задавать _DH_ACT_STA_POS, _STD_DH_TOTAL и _DISP_WID.
Если _DH_ACT_STA_POS = _STD_DH_TOTAL - _DISP_WID то почему его просто не вычислять, или это справедливо не для всех матриц?
_DH_ACT_END_POS тоже тогда равен _STD_DH_TOTAL?
Если так, то для моей матрицы в соответствии с даташитом:
_STD_DH_TOTAL = 1200
_DISP_WID = 1024
_DH_ACT_STA_POS = 1200 - 1024 = 176
_DH_ACT_END_POS = 1024 + 176 = 1200

_STD_DV_TOTAL = 625
_DISP_LEN = 600
_DV_ACT_STA_POS = 625 - 600
_DV_ACT_END_POS = 625

(я же говорил, что ничего не понимаю))))
Миниатюры
Нажмите на изображение для увеличения
Название: Image 2.png
Просмотров: 1037
Размер:	26.9 Кб
ID:	35187   Нажмите на изображение для увеличения
Название: Image 3.png
Просмотров: 1030
Размер:	42.5 Кб
ID:	35188  
iddqd1 вне форума  
Старый 11.03.2014, 21:02   #419
ancc
Гуру
 
Регистрация: 17.03.2008
Возраст: 47
Город: Новокузнецк
Регион: 42
Машина: 2003\Lexus\RX330
Сообщений: 1,192
ancc is a splendid one to beholdancc is a splendid one to beholdancc is a splendid one to beholdancc is a splendid one to beholdancc is a splendid one to beholdancc is a splendid one to beholdancc is a splendid one to behold
По умолчанию

уточнение насчет прошивки с флешем. У кого не запускалось. Это связано с тем, что флеш не нужна, но резисторы подтяжки на выводах шины I2C нужны. Соответственно у кого они распаяны вместе с еепром, то отключая eeprom вы убираете и их, а поддержка I2C в прошивке остается, и контроллер пробует на выводах шины I2C висящих в воздухе чего-то найти. В некоторых случаях это приводит к зависанию.
ancc вне форума  
Старый 11.03.2014, 21:04   #420
iddqd1
Старший Пользователь
 
Регистрация: 20.05.2013
Регион: 02
Сообщений: 152
iddqd1 is on a distinguished road
По умолчанию

Тогда вам нужно 2 прошивки - одна с отключенным i2c для тех, кому не нужно управление. Все-таки тяжко к выводам процессора паяться.
iddqd1 вне форума  
Закрытая тема


Здесь присутствуют: 2 (пользователей: 0 , гостей: 2)
 
Опции темы Поиск в этой теме
Поиск в этой теме:

Расширенный поиск

Ваши права в разделе
Вы не можете создавать новые темы
Вы не можете отвечать в темах
Вы не можете прикреплять вложения
Вы не можете редактировать свои сообщения

BB коды Вкл.
Смайлы Вкл.
[IMG] код Вкл.
HTML код Выкл.



Часовой пояс GMT +4, время: 23:31.


Работает на vBulletin® версия 3.8.4.
Copyright ©2000 - 2026, Jelsoft Enterprises Ltd.
Перевод: zCarot