PCCar.ru - Ваш автомобильный компьютер

Вернуться   PCCar.ru - Ваш автомобильный компьютер > MP3Car ТехИнфа > Сделай сам

Ответ
 
Опции темы Поиск в этой теме
Старый 28.08.2009, 02:47   #1
Just.Kot
Пользователь
 
Аватар для Just.Kot
 
Регистрация: 06.06.2008
Возраст: 38
Город: Moscow
Регион: 77, 97, 99, 177
Машина: BMW 330Сi||2001
Сообщений: 57
Just.Kot will become famous soon enough
По умолчанию Постоянный "-" в импульс "+"...

Бьюсь уже третий день, не знаю что придумать...

Есть устройство 1, которое выдает на выход постоянный минус
Есть устройство 2, которое активируется от короткого(одиночного импульса) сигнала, причем плюсового.
Возможно важное НО: устройство 2 на входе, куда должен подаваться плюсовой импульс, в выключенном состоянии, имеет "небольшой" минус.

Задача, запустить с помощью устройства 1, устройство 2.

Как это реально сделать? с помощью релюшек не получилось(одная четырех и одна пяти контактная) похоже как раз из-за вышеописаного НО. Наверное нужен какой-то диод или еще что-то(

Последний раз редактировалось Just.Kot; 28.08.2009 в 14:14.
Just.Kot вне форума   Ответить с цитированием
Старый 28.08.2009, 06:48   #2
Urvin
Старший Пользователь
 
Аватар для Urvin
 
Регистрация: 13.11.2008
Возраст: 38
Город: Москва
Регион: 77, 97, 99, 177
Машина: 2000\Basin\2111
Сообщений: 250
Urvin will become famous soon enough
По умолчанию

Т.е. при появлении на выходе устройства 1 земли кратковременно замкнуть вход устройства 2 на питание?
Какие напряжения?
Urvin вне форума   Ответить с цитированием
Старый 28.08.2009, 13:48   #3
Just.Kot
Пользователь
 
Аватар для Just.Kot
 
Регистрация: 06.06.2008
Возраст: 38
Город: Moscow
Регион: 77, 97, 99, 177
Машина: BMW 330Сi||2001
Сообщений: 57
Just.Kot will become famous soon enough
По умолчанию

Цитата:
Сообщение от Urvin Посмотреть сообщение
Т.е. при появлении на выходе устройства 1 земли кратковременно замкнуть вход устройства 2 на питание?
Какие напряжения?
12Вольт
Just.Kot вне форума   Ответить с цитированием
Старый 28.08.2009, 15:37   #4
johni
Старший Пользователь
 
Аватар для johni
 
Регистрация: 04.09.2007
Возраст: 51
Город: Москва
Регион: 40
Машина: Mitsubishi Outlander + Mazda MPVII V6 3L + Peugeot 307SW
Сообщений: 461
johni is a jewel in the roughjohni is a jewel in the roughjohni is a jewel in the rough
По умолчанию

Я сделалбы так:
johni вне форума   Ответить с цитированием
Старый 28.08.2009, 16:25   #5
Urvin
Старший Пользователь
 
Аватар для Urvin
 
Регистрация: 13.11.2008
Возраст: 38
Город: Москва
Регион: 77, 97, 99, 177
Машина: 2000\Basin\2111
Сообщений: 250
Urvin will become famous soon enough
По умолчанию

В мозгу крутится дурная схема на NE555 с транзистором. Но она явно избыточная. Сейчас похожу по кругу, можт что дельное придумаю..
Urvin вне форума   Ответить с цитированием
Старый 28.08.2009, 16:45   #6
johni
Старший Пользователь
 
Аватар для johni
 
Регистрация: 04.09.2007
Возраст: 51
Город: Москва
Регион: 40
Машина: Mitsubishi Outlander + Mazda MPVII V6 3L + Peugeot 307SW
Сообщений: 461
johni is a jewel in the roughjohni is a jewel in the roughjohni is a jewel in the rough
По умолчанию

Цитата:
Сообщение от Urvin Посмотреть сообщение
В мозгу крутится дурная схема на NE555 с транзистором. Но она явно избыточная. Сейчас похожу по кругу, можт что дельное придумаю..
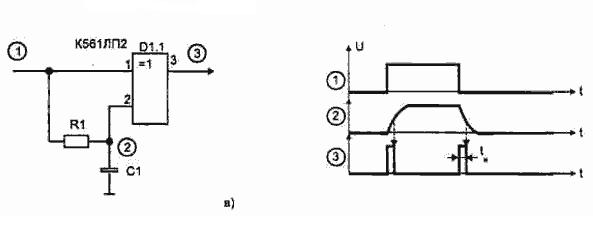
Доработай ( осталось пара транз.)
Миниатюры
Нажмите на изображение для увеличения
Название: Формирователь импульсов1.JPG
Просмотров: 1467
Размер:	12.0 Кб
ID:	12427  
johni вне форума   Ответить с цитированием
Старый 28.08.2009, 23:33   #7
Urvin
Старший Пользователь
 
Аватар для Urvin
 
Регистрация: 13.11.2008
Возраст: 38
Город: Москва
Регион: 77, 97, 99, 177
Машина: 2000\Basin\2111
Сообщений: 250
Urvin will become famous soon enough
По умолчанию



Кондер влияет на ширину импульса. Надо подбирать.
Urvin вне форума   Ответить с цитированием
Старый 30.08.2009, 23:08   #8
Just.Kot
Пользователь
 
Аватар для Just.Kot
 
Регистрация: 06.06.2008
Возраст: 38
Город: Moscow
Регион: 77, 97, 99, 177
Машина: BMW 330Сi||2001
Сообщений: 57
Just.Kot will become famous soon enough
По умолчанию

Большое спасибо всем откликнувшимся, идея про конденсатор оказалась верна: две релюшки давали просто слишком короткий импульс, все вылечилось установкой одного маленького конденсатора)

Последний раз редактировалось Just.Kot; 31.08.2009 в 02:21.
Just.Kot вне форума   Ответить с цитированием
Ответ


Здесь присутствуют: 1 (пользователей: 0 , гостей: 1)
 
Опции темы Поиск в этой теме
Поиск в этой теме:

Расширенный поиск

Ваши права в разделе
Вы не можете создавать новые темы
Вы не можете отвечать в темах
Вы не можете прикреплять вложения
Вы не можете редактировать свои сообщения

BB коды Вкл.
Смайлы Вкл.
[IMG] код Вкл.
HTML код Выкл.



Часовой пояс GMT +4, время: 17:35.


Работает на vBulletin® версия 3.8.4.
Copyright ©2000 - 2026, Jelsoft Enterprises Ltd.
Перевод: zCarot