PCCar.ru - Ваш автомобильный компьютер

Вернуться   PCCar.ru - Ваш автомобильный компьютер > MP3Car ТехИнфа > Разработка устройств

Ответ
 
Опции темы Поиск в этой теме
Старый 29.09.2006, 11:00   #1
Hamster
Больной. Диагноз "Car PC"
 
Аватар для Hamster
 
Регистрация: 01.09.2005
Возраст: 52
Город: Москва
Регион: 77, 97, 99, 177
Машина: 08\Acura\MDX •••• 07\Honda\Civic 4D
Сообщений: 4,379
Hamster is a splendid one to beholdHamster is a splendid one to beholdHamster is a splendid one to beholdHamster is a splendid one to beholdHamster is a splendid one to beholdHamster is a splendid one to beholdHamster is a splendid one to behold
По умолчанию Делитель сопротивления

Вот вам, уважаемые утренний пятничный вопрос. Меня он почему-то поставил в тупик - вроде ответ где-то рядом,но как сделать непонятно

Короче, наверное все знают про переменные сопротивления. Имеет оно 3 контакта. Сопротивление между первым и вторым постоянно и равно нопиналу, третий контакт "бегает" от первого ко второму,

|---------+------|
1______<-3->___2
изменяя таким образом два сопротивления:
между 1 и 3
между 2 и 3
Но, в любом случае, по понятным причинам R(1,2) = R(1,3)+R(3,2).

Внимание, вопрос!
Мы берем это замечательное переменное сопротивление и выкидываем нафиг. Вместо него мы ставим нечто, что по нажатию кнопок генерит различные номиналы сопротивления между 1 и 3. Все вродебы ничего, но для того чтобы схема работала нам надо обеспечить изменение сопротивления и между 2 и 3?
Как, не прибегая к замысловатым схемам сделать такую фигню?

З.ы. надеюсь объяснил понятно...
Подоплека здесь простая - есть автомобильный джойстик Sony X4S, есть желание его пользовать, есть софт, НО! нет game порта на моей системе.
Зато есть обычный комповый джойстик, в котором есть контроллер, который и берет значения этого разнесчастного сопротивления на входе. Т.е. там на входе ТРИ конца.

З.Ы. Конвертер gameport-USB не предлагать! Во-первых, это не спортивно, а во-вторых, нафига ж я тогда этот джойстик покупал! Не думал я, что он мне такую подляну кинет, думал там все просто - есть 2 конца на каждую из осей джойстика (как в стандартном гаме порте), вушай на них свою соньку и безпроблем. А оказалось там этот "делитель"
__________________
Старый проект Honda Accord RHD
Теперь будет Acura MDX 2008 и Honda Civic 4D 2007 и Mitsubishi Outlander XL 2011

Последний раз редактировалось Hamster; 29.09.2006 в 11:27.
Hamster вне форума   Ответить с цитированием
Старый 29.09.2006, 12:50   #2
mcf1
Guest
 
Сообщений: n/a
По умолчанию

Цитата:
Сообщение от Hamster Посмотреть сообщение
НО! нет game порта на моей системе.
Зато есть обычный комповый джойстик, в котором есть контроллер, который и берет значения этого разнесчастного сопротивления на входе. Т.е. там на входе ТРИ конца.(
что то я не понял как же в итоге ты собираешся это подключить к компу если нет геимпорта.
  Ответить с цитированием
Старый 29.09.2006, 12:59   #3
Eugene
Страшный Пользователь
 
Аватар для Eugene
 
Регистрация: 28.02.2006
Возраст: 42
Город: Москва
Регион: 77, 97, 99, 177
Машина: 2006\Toyota\Land Cruiser 120 Prado
Сообщений: 661
Eugene will become famous soon enough
По умолчанию

Цитата:
Сообщение от mcf1 Посмотреть сообщение
что то я не понял как же в итоге ты собираешся это подключить к компу если нет геимпорта.
+1. имеем обычный джойстик, контроллер которого хотим подпаять к джойстику сони... а геймпорта все-равно нет.
Eugene вне форума   Ответить с цитированием
Старый 29.09.2006, 13:03   #4
Hamster
Больной. Диагноз "Car PC"
 
Аватар для Hamster
 
Регистрация: 01.09.2005
Возраст: 52
Город: Москва
Регион: 77, 97, 99, 177
Машина: 08\Acura\MDX •••• 07\Honda\Civic 4D
Сообщений: 4,379
Hamster is a splendid one to beholdHamster is a splendid one to beholdHamster is a splendid one to beholdHamster is a splendid one to beholdHamster is a splendid one to beholdHamster is a splendid one to beholdHamster is a splendid one to behold
По умолчанию

Цитата:
Сообщение от Eugene Посмотреть сообщение
+1. имеем обычный джойстик, контроллер которого хотим подпаять к джойстику сони... а геймпорта все-равно нет.
Совершенно верно. Контроллер джостика имеет:
входы
- три конца (т.е. этот самый делитель сопротивления, блин) для координаты X
- тож самое для Y и Я
- две кнопки

выходы
- USB, что нам и надо.

В качестве софта - Steering Wheel Controls.

Ну чего, как делить сопротивления то?
__________________
Старый проект Honda Accord RHD
Теперь будет Acura MDX 2008 и Honda Civic 4D 2007 и Mitsubishi Outlander XL 2011
Hamster вне форума   Ответить с цитированием
Старый 29.09.2006, 13:33   #5
Димон
Гуру
 
Аватар для Димон
 
Регистрация: 03.10.2005
Город: МКАД восток-запад
Регион: 77, 97, 99, 177
Машина: 09\Опиль\АстраХ
Сообщений: 2,013
Димон is a splendid one to beholdДимон is a splendid one to beholdДимон is a splendid one to beholdДимон is a splendid one to beholdДимон is a splendid one to beholdДимон is a splendid one to behold
По умолчанию

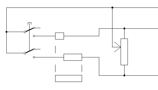
это не ответ. Это я начал думать.
Миниатюры
Нажмите на изображение для увеличения
Название: Delitel.jpg
Просмотров: 1255
Размер:	18.5 Кб
ID:	851  
Димон вне форума   Ответить с цитированием
Старый 29.09.2006, 13:33   #6
Beer100
Гуру
 
Аватар для Beer100
 
Регистрация: 04.01.2006
Возраст: 56
Город: Минск
Регион: Беларусь
Машина: 2002\Audi\A6 3.0i
Сообщений: 1,135
Beer100 will become famous soon enough
По умолчанию

А на выходе Sony X4S имеется 2 конца, между которыми меняется сопротивлене? Так?
Beer100 вне форума   Ответить с цитированием
Старый 29.09.2006, 13:45   #7
Димон
Гуру
 
Аватар для Димон
 
Регистрация: 03.10.2005
Город: МКАД восток-запад
Регион: 77, 97, 99, 177
Машина: 09\Опиль\АстраХ
Сообщений: 2,013
Димон is a splendid one to beholdДимон is a splendid one to beholdДимон is a splendid one to beholdДимон is a splendid one to beholdДимон is a splendid one to beholdДимон is a splendid one to behold
По умолчанию

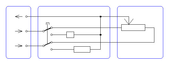
Вот вроде получилось. слева и справа части существующего жостика. Всередине вставляемый блок с кнопочкой. Аналагичным макаром вставляется неогранниченное кол-во кнопочик. При этом жостик остается работать
Миниатюры
Нажмите на изображение для увеличения
Название: Delitel2.jpg
Просмотров: 1236
Размер:	26.6 Кб
ID:	852  
Димон вне форума   Ответить с цитированием
Старый 29.09.2006, 13:46   #8
mcf1
Guest
 
Сообщений: n/a
По умолчанию

Цитата:
Сообщение от Hamster Посмотреть сообщение
Ну чего, как делить сопротивления то?
а что джоистик сони умеет? а тебе обязательно иметь аналоговое управление? можно вместо перменных сопротивлений использовать кнопку
  Ответить с цитированием
Старый 29.09.2006, 14:07   #9
mcf1
Guest
 
Сообщений: n/a
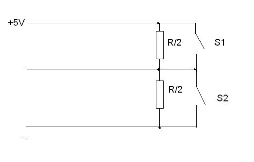
По умолчанию

Цитата:
Сообщение от mcf1 Посмотреть сообщение
можно вместо перменных сопротивлений использовать кнопку
Это схема из обычноко джйстика

я предлагаю сделать вот так
Миниатюры
Нажмите на изображение для увеличения
Название: ОбычнДЖ..JPG
Просмотров: 1480
Размер:	5.3 Кб
ID:	853   Нажмите на изображение для увеличения
Название: МодернизДЖ.JPG
Просмотров: 1448
Размер:	9.0 Кб
ID:	854  
  Ответить с цитированием
Старый 29.09.2006, 14:10   #10
Димон
Гуру
 
Аватар для Димон
 
Регистрация: 03.10.2005
Город: МКАД восток-запад
Регион: 77, 97, 99, 177
Машина: 09\Опиль\АстраХ
Сообщений: 2,013
Димон is a splendid one to beholdДимон is a splendid one to beholdДимон is a splendid one to beholdДимон is a splendid one to beholdДимон is a splendid one to beholdДимон is a splendid one to behold
По умолчанию

ха, КЗ обеспечено.
Димон вне форума   Ответить с цитированием
Ответ


Здесь присутствуют: 1 (пользователей: 0 , гостей: 1)
 

Ваши права в разделе
Вы не можете создавать новые темы
Вы не можете отвечать в темах
Вы не можете прикреплять вложения
Вы не можете редактировать свои сообщения

BB коды Вкл.
Смайлы Вкл.
[IMG] код Вкл.
HTML код Выкл.



Часовой пояс GMT +4, время: 21:54.


Работает на vBulletin® версия 3.8.4.
Copyright ©2000 - 2026, Jelsoft Enterprises Ltd.
Перевод: zCarot